<今日股票行情>昆山电子厂扔员工证件事件引众怒,三天霸占抖音热点榜今日股票行情>
“昆山电子厂扔员工证件”事件在抖音热点榜上霸占了三天,在激起网友众怒的同时,也在热议中引发了各类谣言。
最初发布视频的账号已无从考证,从目前流传最广的视频来看,画面中身穿红色马甲的工作人员一边点名,一边将桌面上的身份证扔到地上,而被点名的员工只能弯腰将其拾起。

图源:截图自抖音账号@湖北新闻
视频在网络上广泛传播,网友们批评该工厂“粗暴”、“歧视员工”、“不顾打工者尊严”等。
经核实,视频中的工厂属于世硕电子(昆山)有限公司(下称“世硕电子”),位于江苏省昆山开发区精密机械工业园。
9月5日晚,世硕电子发布了道歉声明:
对于我司新人培训单位,因招工旺季场地受限,现场管理不到位,工作人员以不当的方式发放员工证件,致使新人不受到尊重,我司深表震惊与遗憾,因此事造成社会大众不良观感及负面影响,在此表达万分歉意!针对此事,我公司立即调查并作出以下承诺:
1.单位管理人员失职,主管率团队向员工致歉,请求对于管理失当的谅解;
2.重新审视及完善培训人员的管理及教导,把关爱员工的理念贯穿始终;
3.加强主管现场巡视与监督;
4.当事员工不当作为,依厂规处理。
在舆论发酵后,更多不明来源视频出现,并称“报应来了”、“昆山电子厂扔证后员工离职:3000人走2900,生产线瘫痪”。

图源:截图自抖音账号@大河客户端,源素材不详。
然而,一家上千员工的电子厂,真能在两天内让几乎所有员工离职吗?
界面新闻记者以求职者身份询问了两位世硕电子招工人员,他们皆表示,厂内招聘情况正常,大量员工离职属谣言。其中一位自称在世硕电子工作了4年的招工人员表示,这里“每天都有人走,每天都有人进”。

昆山开发区内有大量电子制造业工厂,包括立讯精密,富士康等知名代工厂都在此设厂。世硕电子的母公司是和硕集团,而和硕是列于富士康之后的苹果第二大代工厂,也被外界称作“富士康的劲敌”。和硕集团2008年从母公司华硕(其电脑品牌是ASUS华硕电脑)分离出来,专注于代工业务,既生产华硕品牌笔记本,也生产苹果等产品。
据界面新闻此前了解,近一两个月正值电子厂生产旺季,招聘需求旺盛。主要由于疫情好转,消费需求回升,各厂商也开始密集发布新品。另外,苹果新品发布会即将公布,而苹果的订单,某种程度上是制造业的晴雨表。
旺季,意味着订单量大,现有工人无法满足生产需求,工厂需要招聘大量临时工。各个工厂都在提升工资待遇以招聘更多工人,以河南港区富士康为例,大约8月开始,有劳务公司向打工者开出了高价“返费”,一路从6000元左右涨到了超1万元。
返费,是指工厂为保证工人在一定时间内稳定工作而开出的奖励,可以理解为工厂给临时工人的额外奖金。例如,打卡满55天、75天就能拿到返费,而中途离职就全部泡汤。
此次“身份证事件”突然点燃了众怒,反映出了底层务工者长期以来低话语权、低自尊的境况,同时也暴露出工厂在招聘大量临时工后出现的管理乱象。
工厂的用人高峰期同时也是离职高峰期,员工流动性极大。根据时代财经9月6日的报道,一位世硕电子老员工表示:一般人吃不消,干几天就提桶跑路了,派遣工三个月还不见得能转正。“(想)拿到返费,最起码得坚持100多天。”
关于“大量员工离职”一说,界面新闻记者致电世硕电子总机,对方回应“只是网上传言而已”,问及工厂具体情况,对方表示“我不清楚”。截至发稿,世硕电子未有书面回应。
此前报道将证件丢在地上让新员工弯腰捡!江苏一公司粗暴发证件后大批员工离职
公司粗暴发工作证后大批员工离职
江苏昆山的世硕电子(昆山)有限公司工作人员给新员工发证件时,随手将员工证件丢在地上,新员工只能弯腰去捡。

9月5日
相关视频在网上传播后
引发网友愤怒
网友认为该公司涉嫌歧视员工
该公司回应
单位管理人员失职
主管率团队向员工致歉
楚天都市报记者了解到

已有大批员工从该公司离职
乱扔证件让新员工弯腰捡主管团队向员工致歉
视频内容显示,三个男子站在一个桌子前面,两个男子身穿红色马甲,一男子身穿白色短袖露出肚脐,靠当中一男子手持话筒念着员工名字,念到一个名字,就向地上扔一个员工证件。很多人弯腰捡起地上的证件,可以看到,一人弯腰从地上捡起自己证件的同时,另一人的证件从他眼前飞过。
当天有多人将该视频上传到网上平台,引发网友热议,“尊重自己,尊重他人”“工资记得要回啊”“没有尊严的工作,宁可不做”“公司与员工应该平等”……
当天该公司回应,事件正在调查中,调查结果将对外公布。5日下午,世硕电子(昆山)有限公司发布声明,单位管理失职,主管团队向员工致歉。
网传的一份世硕电子(昆山)有限公司开具的《关于网传负面新闻的说明》称:对于我司新人培训单位,因招工旺季场地受限,现场管理不到位,工作人员以不当的方式发放员工证件,致使新人不受到尊重昆山电子厂扔员工证件事件引众怒,三天霸占抖音热点榜,我司深表震惊与遗憾,因此事造成社会大众不良观感及负面影响,在此表达万分歉意!针对此事,我公司立即调查并作出以下承诺:1.单位管理人员失职,主管率团队向员工致歉,请求对于管理失当的谅解;2.重新审视及完善培训人员的管理及教导,把关爱员工的理念贯穿始终;3.加强主管现场巡视与监督;4.当事员工不当作为,依厂规处理。

多名员工离职公司涉嫌侵犯员工人格
天眼查显示,世硕电子(昆山)有限公司又名世硕电脑科技(昆山)有限公司,坐落于昆山开发区精密机械工业园,母公司为和联集团。主要从事高科技电子产品的生产,为全球五大笔记本电脑生产企业之一,公司拥有世界级工程技术研发团队,为消费者、企业用户提供最具创新的科技解决方案,母公司和硕联合科技股份有限公司为台湾华硕电脑股份有限公司之关系企业昆山世硕电子女孩多吗,目前和硕集团除了在浦东新区康桥已注册三家公司外,于昆山建立的世硕科技构成“和联/永硕华东营运中心”,总投资6.27亿美元,包括世硕科技(昆山)有限公司。

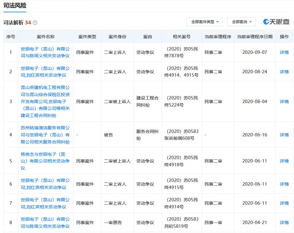
另据天眼查显示,该公司自今年4月以来,已有8起劳动争议案。
该公司员工小吴(化名)告诉记者,他今年21岁,2018年进入该公司,昨天已经向公司领班提出辞职并得到同意,9月6日上完最后一天班后就要离开。小吴来自广州,他之所以离职一方面是因为5日的视频让他对该公司的企业文化比较失望,另一方面也有个人打算。“三点一线的工作制,上班就是为了下班,天天同样的氛围,说到底就是能接受就做。”小吴说,他的月工资最高能拿到4700元,平均每个月4300元左右,扣除水电等费用后到手3900元左右。
前公司员工小李(化名)告诉记者,自己今年6月份曾入职该公司,从面试到上班,就在那呆了四五天。当时离开的原因是被分错班,但相关领导推卸说是下面员工责任,最后无奈只好离职。印象比较深刻的是那里的饭菜比较贵,一顿八块,全素。
昆山当地一曾从事人力中介工作人员介绍,现在是招工难的季节,很多企业会推出一种“返费”的政策。所谓“返费”就是公司承诺,新员工如果在厂方工作到一定期限,就可以拿到一笔钱,一般是一万五千块左右。因此很多求职者会因为“返费”的吸引,而应聘公司。
记者拨打该公司工商系统登记过的两个电话,一个无人接听,另外一个已经停机。
武汉大学城市安全与社会管理研究中心特聘教授尚重生表示,代表公司的管理人员在发放新员工证件时,将多名新员工的证件随手丢在地上,让多名新员工弯腰去捡的行为,可认为是理性状态下,有预谋的选择性行为。从该公司的行为来看,已经侵犯了新员工的人格权。也反映了资方的无理和傲慢,劳动者的劣势地位和不受尊重。
节后首个工作日央行开展十月首次买断式逆回购,释放啥信号?
持续注入流动性 央行开展1.1万亿元买断式逆回购操作(76 )人阅读时间:2025-10-11
昆山电子厂扔员工证件事件引众怒,三天霸占抖音热点榜
昆山世硕电子女孩多吗“昆山电子厂扔员工证件”事件在抖音热点榜...(165 )人阅读时间:2025-10-10
10月9日央行开展1.1万亿元买断式逆回购操作,释放啥信号?
2025央行为什么要降准新京报以文字、图片、视频等全媒体形式...(175 )人阅读时间:2025-10-10
世硕电子发证件丢地上引众怒!大批员工离职,公司致歉
江苏昆山的世硕电子有限公司工作人员给新员工发证件时,随手将员...(89 )人阅读时间:2025-10-09